FLUID LEAKAGE
CAUTION: If leaks occur around connections, reinstall the lines or replace damaged parts, if necessary.
FLUID LEVEL

CAUTION: Do not spill clutch fluid onto painted surfaces. If fluid spills, wipe up immediately and wash the affected area with water.
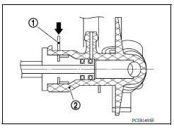
1. Connect a transparent vinyl hose to air bleeder of bleeding connector (1).

2. Press the lock pin (1) into the bleeding connector (2), and maintain the position.

3. Slide clutch tube (1) for the specified
distance (A) in the direction
of the arrow (
) as shown.
(2) : Bleeding connector
Dimension (A) : 5 mm (0.20 in)
CAUTION: Do not allow the clutch tube to disconnect from the bleeding connector.
4. Depress clutch pedal to gradually discharge clutch fluid.
CAUTION: Clutch tube is under hydraulic pressure; do not allow the clutch tube to disconnect from the bleeding connector.

CAUTION: Do not spill clutch fluid onto painted surfaces. If fluid spills, wipe up immediately and wash the affected area with water.
1. Check that there is no foreign material in reservoir tank and then fill with new clutch fluid.
CAUTION: Do not reuse drained clutch fluid.
2. Connect a transparent vinyl hose to air bleeder of bleeding connector (1).

3. Press the lock pin (1) into the bleeding connector (2), and maintain the position.

4. Slide clutch tube (1) for the specified
distance (A) in the direction
of the arrow (
) as shown.
(2) : Bleeding connector
Dimension (A) : 5 mm (0.20 in)

5. Slowly depress clutch pedal to the full stroke position and then release the pedal.
CAUTION: Clutch tube is under hydraulic pressure; do not allow the clutch tube to disconnect from the bleeding connector.
6. Repeat step 5 at intervals of 2 or 3 seconds until new clutch fluid is discharged.
CAUTION: Monitor clutch fluid level in reservoir tank so as not to empty the tank.
7. Return clutch tube and lock pin in their original positions while clutch pedal is depressed.
8. Perform the air bleeding. Refer to CL, "Air Bleeding".
CAUTION:
CAUTION: Do not reuse drained clutch fluid.

4. Press the lock pin (1) into the bleeding connector (2), and maintain the position.
CAUTION: Clutch tube is under hydraulic pressure; do not allow the clutch tube to disconnect from the bleeding connector.

5. Slide clutch tube (1) for the specified
distance (A) in the direction
of the arrow (
) as shown and
immediately depress the clutch
pedal and hold it, to bleed the air from the system.
(2) : Bleeding connector
Dimension (A) : 5 mm (0.20 in)
CAUTION: Clutch tube is under hydraulic pressure; do not allow the clutch tube to disconnect from the bleeding connector.

Return clutch tube and lock pin in their original positions.
Release clutch pedal and wait for 5 seconds.
Repeat steps 3 to 7 until no bubbles are observed in the clutch fluid.
Check that the fluid level in the reservoir tank is within the specified range after air bleeding. Refer to CL"Inspection".
Clutch pedalInspection and Adjustment 1. Check to see if the master cylinder rod end moves freely. It should not be bound by the clutch pedal. a. If the rod end does not move freely, re ...

Exploded View 1. Clutch pedal 2. Pedal stopper rubber 3. Pedal pad 4. Clip 5. Clutch interlock switch Removal and Installation REMOVAL Remove the instrument lower panel LH. Refer to IP, ...
Fuel level sensor unit, fuel filter and fuel pump assembly
Exploded View
1. Lock ring 2. Fuel level sensor unit, fuel filter and
fuel pump assembly
3. O-ring
4. Fuel tank
Removal and Installation
WARNING:
Be sure to read "General Precautions" before working on the fuel system. Refer
to FL, "General Precautions".
REMOVAL
Release t ...
VDC/TCS/ABS
Symptom Table
If ABS warning lamp and SLIP indicator lamp turn ON, perform self-diagnosis.
NOTE:
The ABS does not operate when the speed is 10 km/h (6 MPH) or less.
Under the following conditions, ABS is activated and vibration is
felt when brake pedal is lightly depressed (just place ...