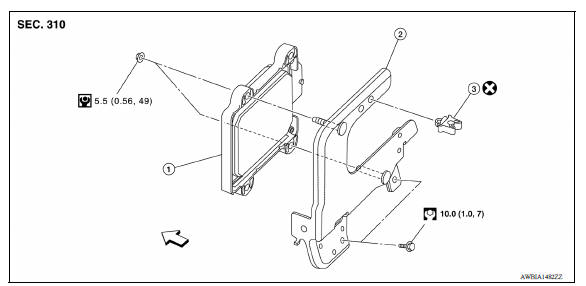
Exploded View

1. TCM 2. Bracket 3. Clip
Front
Removal and Installation
CAUTION: When replacing TCM, note the "CVTF DETERIORATION DATE" value displayed on CONSULT "CONFORM CVTF DETERIORTN" in MAINTENANCE BOOKLET, before starting the operation.
NOTE: When replacing the TCM and transaxle assembly as a set, replace the transaxle assembly first and then replace the TCM. Refer to TM "Description".
REMOVAL
INSTALLATION
Installation is in the reverse order of removal.
Adjustment
ADJUSTMENT AFTER INSTALLATION
Perform "ADDITIONAL SERVICE WHEN REPLACING TCM". Refer to TM "Description".
Key interlock cableExploded View 1. CVT shift selector assembly 2. Key interlock cable A: Key cylinder B: Lock plate C: Clip Removal and Installation REMOVAL CAUTION: Always apply the parking brake before pe ...

Removal and Installation REMOVAL Remove air duct (inlet). Refer to EM "Exploded View". Remove air breather hose from transaxle assembly. INSTALLATION Installation is in the reve ...
Bluetooth Hands-Free Phone System with Navigation System (if so equipped)
WARNING
Use a phone after stopping your vehicle
in a safe location. If you have to use a
phone while driving, exercise extreme
caution at all times so full attention may
be given to vehicle operation.
If you are unable to devote full attention
to vehicle operation while talking on
...
4-speed automatic transmission fluid (ATF) (if so equipped)
When checking or replacement of automatic
transmission fluid is required, it is recommended
that you visit a NISSAN dealer for servicing.
WARNING
When the engine is running, keep
hands, jewelry and clothing away from
any moving parts such as the cooling
fan and drive belts
Automatic t ...