Nissan Versa (N17): Engine assembly
Exploded View

1. Engine mounting (RH) stay 2. Engine mount (RH) stay 3. Engine mounting
insulator (RH)
4. Rear engine mounting bracket 5. Rear torque rod 6. Engine mounting bracket
(LH)
7. Engine mounting bracket (LH) 8. Engine mounting insulator (LH) 9. Mass damper
A. Front mark B. Transaxle (upper) C. Transaxle (lower)
D. M/T models
CAUTION:
Check that the stud bolt (*2) is tight at the specified torque before
tightening the nut (*1) shown. [Stud
bolt (*2) may be loosened after loosening the nut (*1)]
Removal and Installation
WARNING:
- Position the vehicle on a flat and solid surface.
- Place chocks at front and back of rear wheels.
- Attach proper slingers and bolts described in PARTS CATALOG if
engine is not already equipped.
CAUTION:
- Always be careful to work safely.
- Do not start working until exhaust system and coolant are cool
enough.
- If items or work required are not covered by the engine section,
refer to the applicable sections.
- Always use the support point specified for lifting.
- Use either 2pole lift type or separate type lift. If boardon
type must be used, support the rear axle
jacking point with a transmission jack or similar tool before starting work,
in preparation for the
backward shift of center of gravity.
- For supporting points for lifting and jacking point at rear axle.
NOTE:
- When removing components such as hoses, tubes/lines, etc., cap or
plug openings to prevent fluid from
spilling.
- Remove the engine and the transaxle assembly from the vehicle
downward. Separate the engine and the
transaxle.
REMOVAL
Preparation
- Release fuel pressure.
- Drain engine coolant from radiator.
CAUTION:
- Perform this step when the engine is cold.
- Do not spill engine coolant on drive belts.
3. Remove the following parts:
- Front road wheels and tires (RH/LH).
- Front fender protector (RH/LH).
- Drive belt:
- Battery and battery tray.
- Air duct (inlet), air duct, and air cleaner case assembly.
- Radiator hose (upper and lower).
- Exhaust front tube.
Engine Room (LH)
1. Disconnect all connections of engine
harness around the battery, and then temporarily secure the engine
harness into the engine side.
CAUTION:
Protect connectors against foreign materials during the operation by
wrapping in a plastic bag.
- Disconnect heater hoses.
- Disconnect fuel feed hose at engine side.
- Disconnect control linkage cable from transaxle.
- Disconnect clutch tube on transaxle side from clutch damper.
Engine Room (RH)
- Remove alternator.
- Disconnect vacuum hose at engine side.
- Remove EVAP hoses at engine side.
- Remove air conditioner compressor from the engine with the piping
connected. Temporarily position the
air conditioner compressor on the vehicle side with a rope without placing a
heavy load on the piping.
Vehicle Underbody
- Remove ground cable at transaxle side.
- Remove drive shafts (RH/LH).
- Remove rear torque rod (1).
(2) : Rear engine mounting bracket
: Front

4. Preparation for the work of transaxle is as
follows:
- Remove transaxle joint bolts which pierce at oil pan (upper) lower rear
side.
Removal
1. When engine can be hoisted, install engine
slinger to cylinder
head front left side (A) and rear right side (B) and support the
engine position with a suitable tool.
: Engine front
Slinger (A) bolts : 65.0 N*m (6.6 kgm, 48 ftlb)
Slinger (B) bolts : 25.0 N*m (2.6 kgm, 18 ftlb)

2. Use a suitable tool (A) to securely support
the bottom of the
engine and the transaxle assembly
CAUTION:
Put a piece of wood or an equivalent as the supporting surface
and secure in a stable condition.

3. Remove engine mounting insulator (RH) (1).
(2) : Engine mounting insulator (LH)
(A) : Engine front side
(B) : Transaxle side
4. Remove engine through boltsecuring nut
(C).

5. Carefully lower jack, or raise lift to
remove the engine and the transaxle assembly. Observe the following
cautions:
CAUTION:
- Check that no part interferes with the vehicle side.
- Before and during lifting, always check if any harnesses are left
connected.
- During removal, always be careful to prevent the vehicle from
falling off the lift due to changes in
the center of gravity.
- If necessary, support the vehicle by setting jack or suitable tool
at the rear.
Separation
- Remove starter motor.
- Lift with a hoist and separate the engine from the transaxle assembly.
INSTALLATION
Installation is in the reverse order of removal.
CAUTION:
- Do not allow engine oil to get on engine mounting insulator. Be
careful not to damage engine mounting insulator.
- Check that each mounting insulator is seated properly, and tighten
nuts and bolts.
- When installation directions are specified, install parts
according to the direction marks on them,
referring to the figure of components.
Engine Mounting Insulator (RH)
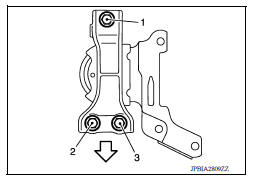
- Tighten bolts in the numerical order as shown.
: Front

INSPECTION AFTER INSTALLATION
- Before starting engine, check oil/fluid levels including engine coolant
and engine oil. If less than required
quantity, fill to the specified level.
- Use procedure below to check for fuel leakage.
- Turn ignition switch ON (with engine stopped). With fuel pressure
applied to fuel piping, check for fuel leakage
at connection points.
- Start engine. With engine speed increased, check again for fuel leakage
at connection points.
- Run engine to check for unusual noise and vibration.
NOTE:
If hydraulic pressure inside timing chain tensioner drops after removal
and installation, slack in the guide
may generate a pounding noise during and just after engine start. However, this
is normal. Noise will stop
after hydraulic pressure rises.
- Warm up engine thoroughly to make sure there is no leakage of fuel,
exhaust gas, or any oils/fluids including
engine oil and engine coolant.
- Bleed air from passages in lines and hoses, such as in cooling system.
- After cooling down engine, again check oil/fluid levels including engine
oil and engine coolant. Refill to specified
level, if necessary.
- Summary of the inspection items:
| Item |
Before starting engine |
Engine running |
After engine stopped |
| Engine coolant |
Level |
Leakage |
Level |
| Engine oil |
Level |
Leakage |
Level |
| Transmission/
transaxle fluid |
A/T and CVT Models |
Leakage |
Level/Leakage |
Leakage |
| M/T Models |
Level/Leakage |
Leakage |
Level/Leakage |
| Other oils and fluids* |
Level |
Leakage |
Level |
| Fuel |
Leakage |
Leakage |
Leakage |
| Exhaust gas |
|
Leakage |
|
*Power steering fluid, brake fluid, etc.
Setting
NOTE:
The following procedures explain how to disassemble the engine with the engine
stand fastened to the bell
housing. Some steps may be different if using a different type of engine ...
Other materials:
RearView Monitor (if so equipped)
1. CAMERA button (models with navigation)
WARNING
Failure to follow the warnings and instructions
for proper use of the Rear-
View Monitor system could result in serious
injury or death.
RearView Monitor is a convenience feature
and is not a substitute for proper
backing. Always ...
Bluetooth Hands-Free Phone System with Navigation System (if so equipped)
WARNING
Use a phone after stopping your vehicle
in a safe location. If you have to use a
phone while driving, exercise extreme
caution at all times so full attention may
be given to vehicle operation.
If you are unable to devote full attention
to vehicle operation while talking on
...