Exploded View

1. Crankshaft position sensor cover 2. Crankshaft position sensor (POS) 3. Oring 4. Drain plug 5. Cylinder block 6. Oil level gauge 7. Oil level gauge guide 8. Oring 9. Knock sensor 10. Oil temperature sensor 11. Oil pressure sensor 12. Oil jet 13. Top ring 14. Second ring 15. Oil ring 16. Piston 17. Piston pin 18. Connecting rod 19. Connecting rod bearing (upper) 20. Main bearing (upper) 21. Thrust bearing 22. Crankshaft key 23. Connecting rod bolt 24. Connecting rod cap 25. Connecting rod bearing (lower) 26. Main bearing (lower) 27. Crankshaft 28. Pilot converter (A/T and CVT models) 29. Signal plate 30. Rear oil seal 31. Drive plate (A/T and CVT models) 32. Reinforce plate (A/T and CVT models) 33. Flywheel (M/T models) 34. Main bearing cap 35. Main bearing cap bolt
DISASSEMBLY
NOTE:
The following procedures explain how to disassemble the engine with the engine stand fastened to the bell housing. Some steps may be different if using a different type of engine stand.
CAUTION:
Carefully handle knock sensor avoiding shocks.
3. Remove the crankshaft position sensor cover (3), and then crankshaft position sensor (POS) (2).
(1) Oring
(4) Cylinder block
 : Engine front
  : Engine front
CAUTION:

4. Remove oil pan (upper and lower).
5. Remove piston and connecting rod assembly:
a. Position crankshaft pin corresponding to connecting rod to be removed onto the bottom dead center.
b. Remove connecting rod cap.
c. Using a hammer handle or similar tool, push piston and connecting rod assembly out through the cylinder head side.
CAUTION:

6. Remove connecting rod bearings.
CAUTION:
Identify original positions for installation, and store the bearings without mixing them up.
7. Remove piston rings from piston.
CAUTION:

8. Remove piston from connecting rod.
Tool Number (A) : KV10109730
(B) : KV10110310
(C) : ST13030020
CAUTION:
NOTE:
The joint between the connecting rod and the piston pin is a press fit.

9. Remove the main bearing cap.
a. Loosen and remove bolts in several steps in reverse of the numerical order as shown.
  : Engine front
 : Engine front
NOTE:
When removing or installing signal plate, use socket (size T40).

b. Remove the main bearing cap from the cylinder block while tapping lightly with a plastic hammer.
10. Remove crankshaft (2).
CAUTION:
NOTE:
When removing or installing signal plate, use socket (size T40).

11. Pull rear oil seal out from rear end of crankshaft.
12. Remove main bearing (upper and lower) and thrust bearings from cylinder block and main bearing caps.
CAUTION:
Identify original installation positions, and store the bearings without mixing them up.
13. Remove oil jets.
CAUTION:
Insert the dowel pin of oil jet into the cylinder block dowel pin hole to loosen the bolt.
ASSEMBLY
CAUTION:
Do not reuse Orings.
1. Fully airblow engine coolant and engine oil passages in cylinder block, cylinder bore and crankcase to remove any foreign material.
WARNING:
Use goggles to protect your eyes.
2. Install oil jets.
3. Install main bearings and thrust bearings:
a. Remove dust, dirt, and engine oil on the bearing mating surfaces of cylinder block.
b. Install thrust bearings to the both sides of the No. 3 journal housing (B) on cylinder block.
 : Engine front
  : Engine front

c. Install the main bearings paying attention to the direction.
NOTE:
For assembly, the center position can be visually identified.

4. Install signal plate to crankshaft if removed.
a. Set the signal plate (1) with the flange facing toward the counterweight side (engine front side) to the crankshaft rear surface.
(A) : Dowel pin hole
b. After positioning crankshaft and signal plate with positioning dowel pin, tighten bolt.
NOTE:
Dowel pin of crankshaft and signal plate is provided as a set for each.
c. Remove dowel pin.
CAUTION:
Be sure to remove dowel pin.

5. Install crankshaft to cylinder block.
CAUTION:
Do not install rear oil seal at this time.
6. Install main bearing caps
 : Engine front
  : Engine front
NOTE:
Main bearing cap cannot be replaced as a single part, because it is machined together with cylinder block.

7. Tighten main bearing cap bolts in numerical order as shown with the following steps:
 : Engine front
  : Engine front
a. Apply new engine oil to threads and seat surfaces of the bolts.
b. Tighten main bearing cap bolts in numerical order.
Main bearing cap bolts : 32.4 N*m (3.3 kgm, 24 ftlb)

c. Turn main bearing cap bolts 60 degrees clockwise (angle tightening) in numerical order as shown.
CAUTION:
Check and confirm the tightening angle by using the Tool (A) or protractor. Avoid judgment by visual inspection without the Tool.
Tool number : KV10112100 (BT8653A)

8. Install piston to connecting rod with the following procedure:
a. Set so that the front mark (A) on the piston head and the cylinder number (C) are in the position as shown.
(B) : Oil hole
(D) : Connecting rod big end grade
NOTE:
The symbols without notes are for manufacturing.

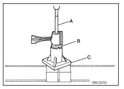
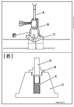
b. Pressfit the piston pin using the Tools (A, B, C, D, E).
Tool number (A) : KV10109730
(B) : KV10110310
(C) : ST13030020
(D) : KV10114120
(E) : ST13030030
(F) : Detail
CAUTION:
Pressfit the piston so as not to damage it.
NOTE:
The joint between the connecting rod and the piston pin is a press fit.

(1) : Connecting rod
 : Pressfit direction
 : Pressfit direction

9. Using suitable tool (A), install piston rings.
CAUTION:

(A) : Oil ring upper or lower rail gap (either of them)
(C) : Second ring and oil ring spacer gap
(D) : Top ring gap

Stamped mark:
Top ring : 1R
Second ring : 2R
10. Install connecting rod bearings to connecting rod and connecting rod cap.
NOTE:
There is no stopper tab.
(1) : Connecting rod
(2) : Connecting rod bearing (upper)
(3) : Connecting rod bearing (lower)
(4) : Connecting rod cap
(A) : 1.7 2.1 mm (0.067 0.083 in)
   : Engine front
: Engine front
NOTE:
Install the connecting rod bearing in the center position with the dimension as shown. For service operation, the center position can be checked visually.

11. Install piston and connecting rod assembly to crankshaft.
CAUTION:
Tool number : EM03470000

12. Install connecting rod cap.
(A) : Front mark
(B) : Oil hole
(D) : Connecting rod big end grade

13. Inspect outer diameter of connecting rod bolts.
14. Tighten connecting rod bolt:
a. Apply new engine oil to the threads and seats of connecting rod bolts.
b. Tighten connecting rod bolts in several steps.
Connecting rod bolts : 27.4 N*m (2.8 kgm, 20 ftlb)
c. Completely loosen connecting rod bolts.
Connecting rod bolts : 0 N*m (0 kgm, 0 ftlb)
d. Tighten connecting rod bolts in several steps.
Connecting rod bolts : 19.6 N*m (2.0 kgm, 14 ftlb)
e. Then turn all connecting rod bolts 60 degrees clockwise (angle tightening).
CAUTION:
Check and confirm the tightening angle by using the Tool (A) or protractor. Avoid judgement by visual inspection without the Tool.
Tool number : KV10112100 (BT8653A)

15. Install oil pan (upper).
NOTE:
Install the rear oil seal after installing the oil pan (upper).
16. Install rear oil seal.
17. Install flywheel (M/T models) or drive plate (A/T and CVT models).
M/T models
(1) :Flywheel
Tool number : KV11105210 (J44716)

A/T and CVT models
(1) :Drive plate
Tool number : KV11105210 (J44716)

CAUTION:
Be careful not to damage or scratch and contact surface for clutch disc of flywheel.
18. Install knock sensor (1).
   : Engine front
: Engine front
CAUTION:
NOTE:

19. Install crankshaft position sensor (POS) (2) using a new Oring (1) and then install the crankshaft position sensor cover (3) on the cylinder block (4).
  : Engine front
: Engine front

CAUTION:
20. For the oil level gauge guide (1), secure in position (B) shown to the water inlet clip (A) after inserting to the cylinder block side.

21. Assembly of the remaining components is in the reverse order of disassembly.
CRANKSHAFT END PLAY

CONNECTING ROD SIDE CLEARANCE

PISTON TO PISTON PIN OIL CLEARANCE
Piston Pin Hole Diameter Measure the inner diameter of piston pin hole with an suitable tool (A).

Piston Pin Outer Diameter Measure the outer diameter of piston pin with a suitable tool (A).

Piston to Piston Pin Oil Clearance (Piston to piston pin oil clearance) = (Piston pin hole diameter) - (Piston pin outer diameter)
NOTE:
PISTON RING SIDE CLEARANCE

PISTON RING END GAP

CONNECTING ROD BEND AND TORSION
(A) : Bend
(B) : Torsion
(C) : Feeler gauge

CONNECTING ROD BIG END DIAMETER
(2) : Connecting rod
(A) : Example
(B) : Measuring direction of inner diameter

CONNECTING ROD BUSHING OIL CLEARANCE
Connecting Rod Bushing Inner Diameter Measure the inner diameter of connecting rod bushing with a suitable tool (A).

Piston Pin Outer Diameter Measure the outer diameter of piston pin with a micrometer (A).

Connecting Rod Bushing Oil Clearance (Connecting rod bushing oil clearance) = (Connecting rod bushing inner diameter) - (Piston pin outer diameter)
CYLINDER BLOCK TOP SURFACE DISTORTION
CAUTION:
Be careful not to allow gasket particles to enter engine oil or engine coolant passages.

MAIN BEARING HOUSING INNER DIAMETER
(1) : Cylinder block
(2) : Main bearing cap
 : Engine front
 : Engine front
NOTE:
Main bearing caps cannot be replaced individually, because they are machined together with cylinder block.

PISTON TO CYLINDER BORE CLEARANCE
Cylinder Bore Inner Diameter
(f) : 10 mm (0.39 in)
(g) : 60 mm (2.36 in)
(h) : 124 mm (4.88 in)
NOTE:
When determining cylinder bore grade, measure the cylinder bore (B) direction at (D) position.

NOTE:
Oversize piston is not available.
Piston Skirt Diameter Measure the outer diameter of piston skirt with a suitable tool (A).

Piston to Cylinder Bore Clearance Calculate by piston skirt diameter and cylinder bore inner diameter [direction (B), position (D)].
(A) : Direction A
(C) : Position C
(E) : Position E
(f) : 10 mm (0.39 in)
(g) : 60 mm (2.36 in)
(h) : 124 mm (4.88 in)
(Clearance) = (Cylinder bore inner diameter) - (Piston skirt diameter)

CRANKSHAFT MAIN JOURNAL DIAMETER
Then use undersize bearing.

CRANKSHAFT PIN JOURNAL DIAMETER
OUTOFROUND AND TAPER OF CRANKSHAFT
Measure the dimensions at four different points as shown on each main journal and pin journal with a suitable tool.
Outofround is indicated by the difference in dimensions between (a) and (b) at (c) and (d).
Taper is indicated by the difference in dimension between (c) and (d) at (a) and (b).
If the measured value exceeds the limit, correct or replace crankshaft.
If corrected, measure the bearing oil clearance of the corrected main journal and/or pin journal. Then select main bearing and/or connecting rod bearing.

CRANKSHAFT RUNOUT

CONNECTING ROD BEARING OIL CLEARANCE
Method by Calculation
(A) : Example
(B) : Inner diameter measuring direction
(Bearing oil clearance) = (Connecting rod bearing inner diameter) - (Crankshaft pin journal diameter)

Method of Using Plastigage
CAUTION:
Do not rotate crankshaft.
NOTE:
The procedure when the measured value exceeds the limit is same as that described in the "Method by Calculation".

MAIN BEARING OIL CLEARANCE
Method by Calculation
(A) : Example
(B) : Inner diameter measuring direction
(Bearing oil clearance) = (Main bearing inner diameter) - (Crankshaft main journal diameter)

Method of Using Plastigage
CAUTION:
Do not rotate crankshaft.
NOTE:
The procedure when the measured value exceeds the limit is same as that described in the "Method by Calculation".

MAIN BEARING CRUSH HEIGHT
(A) : Example
Standard : There must be crush height.

CONNECTING ROD BEARING CRUSH HEIGHT
(A) : Example
Standard : There must be crush height.

MAIN BEARING CAP BOLT OUTER DIAMETER
(A) : (d1) measuring position
(B) : (d2) measuring position
Limit [(d1) - (d2)]: 0.2 mm (0.0078 in)

CONNECTING ROD CAP BOLT OUTER DIAMETER
Limit: 7.75 mm (0.3051 in)

FLYWHEEL DEFLECTION (M/T models)
Limit : 0.45 mm (0.0177 in) or less.
CAUTION:
When measuring, keep magnetic fields (such as dial indicator stand) away from signal plate of the rear end of crankshaft.

 Oil pan (upper) and oil strainer
Oil pan (upper) and oil strainerExploded View 1. Rear oil seal 2. Oring 3. Oil pan (upper) 4. Oil pump chain tensioner (for oil pump drive chain) 5. Oil pump drive chain 6. Crankshaft key 7. Crankshaft sprocket 8. Oil pump ...

Description Selection points Selection parts Selection items Selection methods Between cylinder block and crankshaft Main bearing Main bearing grade (bearing thic ...
Keys
   
Type A (if so equipped)
1. Master key
2. Valet key
3. Key number plate
A key number plate is supplied with your keys.
Record the key number and keep it in a safe place
(such as your wallet), not in the vehicle. If you lose
your keys, it is recommended that you visit a
NISSAN dealer for ...
   
If your vehicle overheats
   If your vehicle is overheating (indicated by an
extremely high temperature gauge reading (if so
equipped), a red high temperature warning light
(if so equipped) ), or if you feel a 
lack of
engine power, detect abnormal noise, etc. take
the following steps.
WARNING
	Do not continue to driv ...