Description
| Selection points | Selection parts | Selection items | Selection methods |
| Between cylinder block and crankshaft | Main bearing | Main bearing grade (bearing thickness) | Determined by match of cylinder block bearing housing grade (inner diameter of housing) and crankshaft journal grade (outer diameter of journal) |
| Between crankshaft and connecting rod | Connecting rod bearing | Connecting rod bearing grade (bearing thickness) | Combining service grades for connecting rod big end diameter and crankshaft pin outer diameter determine connecting rod bearing selection. |
This grade cannot apply to reused parts.
WHEN NEW CONNECTING ROD AND CRANKSHAFT ARE USED
1. Apply connecting rod big end diameter grade stamped (C) on connecting rod side face to the row in the "Connecting Rod Bearing Selection Table".
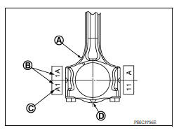
(A) : Oil hole
(B) : Cylinder number
(D) : Front mark

2. Apply crankshaft pin journal diameter grade stamped on crankshaft front side to the column in the "Connecting Rod Bearing Selection Table".
(A) : Main journal diameter grade (No. 1 to 5 from left)
(B) : Crankshaft pin journal diameter grade (No. 1 to 4 from left)

3. Read the symbol at the cross point of selected row and column in the "Connecting Rod Bearing Selection Table".
4. Apply the symbol obtained to the "Connecting Rod Bearing Grade Table" to select connecting rod bearing.
WHEN CONNECTING ROD AND CRANKSHAFT ARE REUSED
Connecting Rod Bearing Selection Table

Connecting Rod Bearing Grade Table
Undersize Bearings Usage Guide
CAUTION:
In grinding crankshaft pin to use undersize bearings, keep the fillet R (A) [0.8 1.2 mm (0.031 0.047 in)].

HOW TO SELECT MAIN BEARING
When New Cylinder Block and Crankshaft Are Used
1. "Main Bearing Selection Table" rows correspond to main bearing housing grade on left side of cylinder block.
(A) : Basic stamp mark
: Engine front

2. Apply main journal diameter grade stamped on crankshaft front side to column in the "Main Bearing Selection Table".
(A) : Main journal diameter grade (No. 1 to 5 from left)
(B) : Crankshaft pin journal diameter grade (No. 1 to 4 from left)

3. Read the symbol at the cross point of selected row and column in the "Main Bearing Selection Table".
4. Apply the symbol obtained to the "Main Bearing Grade Table" to select main bearing.
NOTE:
Service part is available as a set of both upper and lower.
When Cylinder Block and Crankshaft Are Reused
Main Bearing Selection Table

Main Bearing Grade Table
Use Undersize Bearing Usage Guide
CAUTION:
In grinding crankshaft main journal to use undersize bearings, keep fillet (A) [0.8 1.2 mm (0.031 0.047 in)].

Cylinder blockExploded View 1. Crankshaft position sensor cover 2. Crankshaft position sensor (POS) 3. Oring 4. Drain plug 5. Cylinder block 6. Oil level gauge 7. Oil level gauge guide 8. Oring 9. Knock s ...

General Specification GENERAL SPECIFICATIONS Engine type HR16DE Cylinder arrangement Inline 4 Displacement ...
Engine protection control at low engine oil pressure
Engine protection control at low engine oil pressure : system diagram
Engine protection control at low engine
oil pressure : system description
INPUT/OUTPUT SIGNAL CHART
Sensor
Input signal to ECM
ECM function
Actuator
Engine oil pressure sensor
Engine pressure
...
Positive crankcase ventilation
Inspection
1.CHECK PCV VALVE
With engine running at idle, remove PCV valve from rocker cover. A
properly working valve makes a hissing noise as air passes through
it. A strong vacuum should be felt immediately when a finger is
placed over valve inlet.
Is the inspection result normal?
YES &g ...