BODY CONTROL SYSTEM : System Description
OUTLINE
It also has the signal transmission function as the passed point of signal and the power saving control function that reduces the power consumption with the ignition switch OFF.
BCM CONTROL FUNCTION LIST
| System | Reference | |
| Combination switch reading system | BCS "COMBINATION SWITCH READING SYSTEM : System Description" | |
| Signal buffer system | BCS "SIGNAL BUFFER SYSTEM : System Description" | |
| Power consumption control system | BCS "POWER CONSUMPTION CONTROL SYSTEM : System Description" | |
| Headlamp system | EXL "HEADLAMP SYSTEM : System Description" | |
| Daytime light system | EXL "WITH DAYTIME LIGHT SYSTEM : System Description" | |
| Turn signal and hazard warning lamp system | EXL "TURN SIGNAL AND HAZARD WARNING LAMP SYSTEM : System Description" | |
| Parking, license plate and tail lamps system | EXL "PARKING, LICENSE PLATE AND TAIL LAMP SYSTEM : System Description" | |
| Front fog lamp system | EXL "FRONT FOG LAMP SYSTEM : System Description" | |
| Exterior lamp battery saver system | EXL "HEADLAMP SYSTEM : System Description" | |
| Interior room lamp control system | INL "INTERIOR ROOM LAMP CONTROL SYSTEM : System Description" | |
| Interior room lamp battery saver system | INL "INTERIOR ROOM LAMP CONTROL SYSTEM : System Description" | |
| Front wiper and washer system | WW "System Description" | |
| Rear window defogger system | DEF "System Description" | |
| Manual air conditioning system | HAC "MANUAL AIR CONDITIONING SYSTEM : System Description" | |
| Warning chime system | WCS "WARNING CHIME SYSTEM : System Description" | |
| Power door lock system | DLK "System Description" | |
| Trunk lid opener system | DLK "System Description" | |
| Nissan vehicle immobilizer system (NVIS) | SEC "NISSAN ANTI-THEFT SYSTEM : System Description" | |
| Vehicle security system | SEC "VEHICLE SECURITY SYSTEM : System Description" | |
| Panic alarm | SEC "VEHICLE SECURITY SYSTEM : System Description" | |
| Intelligent Key system/engine start system | Door lock function | DLK "DOOR LOCK FUNCTION : System Description" |
| Trunk open function | DLK "TRUNK OPEN FUNCTION : System Description" | |
| Warning function | DLK "WARNING FUNCTION : System Description" | |
| Key reminder function | DLK "KEY REMINDER FUNCTION : System Desciption" | |
| Engine start function | SEC "INTELLIGENT KEY SYSTEM/ENGINE START FUNCTION : System Description" | |
| Power window system | PWC "System Description" | |
| RAP (retained accessory power) system | BCS "RETAINED PWR : CONSULT Function (BCM - RETAINED PWR)" | |
| TPMS (tire pressure monitoring system) | WT "TIRE PRESSURE MONITORING SYSTEM : System Description" | |
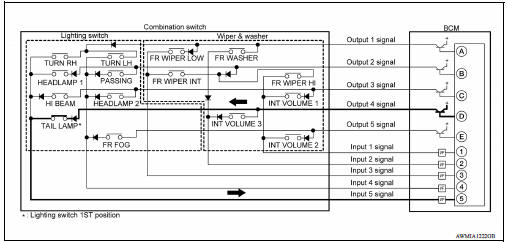
COMBINATION SWITCH READING SYSTEM : System Diagram

COMBINATION SWITCH READING SYSTEM : System Description
OUTLINE
COMBINATION SWITCH MATRIX
Combination switch circuit

Combination switch INPUT-OUTPUT system list
COMBINATION SWITCH READING FUNCTION
Description

NOTE: BCM reads the status of the combination switch at 60 ms intervals when BCM is controlled at low power consumption control mode.
- It operates the transistor on OUTPUT side in the following order: OUTPUT 1 → 2 → 3 → 4 → 5, and outputs voltage waveform.
- The voltage waveform of OUTPUT corresponding to the formed circuit is input into the interface on INPUT side if any (1 or more) switches are ON.
- It reads this change of the voltage as the status signal of the combination switch.
Operation Example
In the following operation example, the combination of the status signals of the combination switch is replaced as follows: INPUT 1 - 5 to "1 - 5" and OUTPUT 1 - 5 to "A - E".
Example 1: When a switch (TAIL LAMP) is turned ON

Example 2: When some switches (TURN RH, TAIL LAMP) are turned ON
TURN RH switch and TAIL LAMP switch are turned ON.
WIPER INTERMITTENT DIAL POSITION
BCM judges the wiper intermittent dial 1 - 7 by the status of INT VOLUME 1, 2
and 3 switches.
NOTE: For details of wiper intermittent dial position, refer to WW "System Description".
SIGNAL BUFFER SYSTEM : System Diagram

SIGNAL BUFFER SYSTEM : System Description
OUTLINE
BCM has the signal transmission function that outputs/transmits each input/received signal to each unit.
Signal transmission function list
POWER CONSUMPTION CONTROL SYSTEM : System Diagram

POWER CONSUMPTION CONTROL SYSTEM : System Description
OUTLINE
Normal mode (wake-up)
CAN communication sleep mode (CAN sleep)
Low power consumption mode (BCM sleep)
LOW POWER CONSUMPTION CONTROL WITH BCM
BCM reduces the power consumption with the following operation in the low power consumption mode.
Sleep mode activation
Sleep condition 
Wake-up operation

PrecautionsPrecaution for Supplemental Restraint System (SRS) "AIR BAG" and "SEAT BELT PRE-TENSIONER" The Supplemental Restraint System such as "AIR BAG" and "SEAT BELT PRE-TENSIONER", us ...

COMMON ITEM COMMON ITEM : CONSULT Function (BCM - COMMON ITEM) APPLICATION ITEM CONSULT performs the following functions via CAN communication with BCM. SYSTEM APPLICATION BCM can perform the ...
Camshaft valve clearance
Inspection and Adjustment
INSPECTION
Perform inspection as follows after removal, replacement or installation of
camshaft or valverelated parts, or if
there are unusual engine conditions regarding valve clearance.
Remove rocker cover.
Measure the valve clearance with the following proced ...
Lock-up control
Lock-up control : system diagram
Lock-up control : system description
The torque converter clutch piston in the torque converter is engaged to
eliminate torque converter slip to
increase power transmission efficiency.
The torque converter clutch control valve operation is controlle ...